奖励未更改前:刷小号任务能月入9000块

发表时间:2011-10-09 作者:qianchao04163 编辑:星陨 来源:叶子猪游戏网
刷小号任务月入9000块

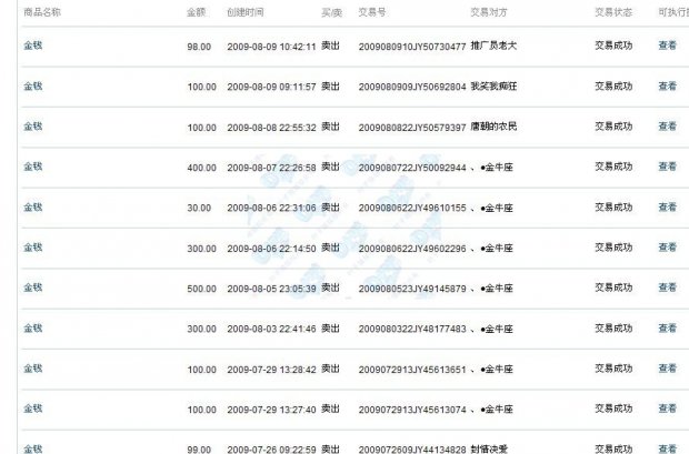
获取人民币记录七 
相关资讯:
刷小号狂人爆料:国庆任务赚了一万RMB?
NPC明星名强大阵容求围观:很黄很暴力
彩云之南小资玩家:敏攻女魔灵台展示秀
上一篇:彩云之南小资玩家:敏攻女魔灵台展示秀 下一篇:僵尸王蒋辰:一个反震男鬼的给力展示秀

点击排行